
10 自制無極繩絞車儲繩車.doc
自制無極繩絞車儲繩車
技術領域
本實用新型涉及礦井運輸設備技術領域,具體是一種自制無極繩絞車儲繩車。
背景技術
井下綜采工作面回風巷道中使用無極繩絞車兌運材料時,無極繩絞車尾輪會隨著綜采進度的推進不斷進行回撤,此時會留下很多多余的鋼絲繩,若不及時歸置這些多余的鋼絲繩,就會妨礙井下生產,降低井下工作人員的工作效率,甚至還會導致井下事故的發生。
發明內容
本實用新型的目的是為了解決無極繩絞車尾輪回撤時遺留的多余鋼絲繩無法歸置的問題,而提供一種自制無極繩絞車儲繩車。
本實用新型是通過以下技術方案實現的:
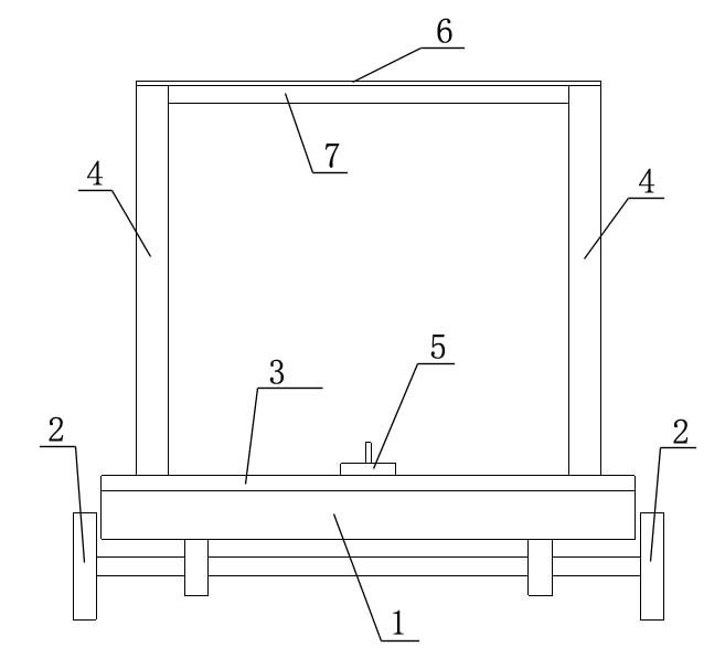
一種自制無極繩絞車儲繩車,包括底盤框架,底盤框架的底部安裝有輪對、頂部固定有底板;底板的四個角分別垂直固定有一根主柱腿,底板的前后兩側分別固定有連接耳;底板左側的兩根主柱腿之間以及底板右側的兩根主柱腿之間分別固定有圓鋼網片;底板前側的兩根主柱腿頂部之間以及底板后側的兩根主柱腿頂部之間分別固定有一根扁梁,兩根扁梁之間固定有圓鋼網片。
使用時,將本實用新型儲繩車與無極繩絞車采用三環鏈連接在一起,使它和絞車成為一個整體,同時運行在同一軌道上,對兌運材料沒有絲毫影響。當無極繩絞車兌運材料時,無極繩絞車尾輪會隨著綜采進度的推進不斷進行回撤,此時就可以將回撤得到的大量多余鋼絲繩放置在本實用新型儲繩車上,本實用新型儲繩車成為絞車存儲繩的新的載體。對于直徑為24.5mm的鋼絲繩,使用本實用新型儲繩車的儲繩量可達3000m。
進一步地,在底板的左右兩側位于主柱腿之間的位置均布有若干根與底板垂直固定的輔柱腿,同時輔柱腿也與固定于主柱腿之間的圓鋼網片固定(輔柱腿的側壁與圓鋼網片固定)。輔柱腿可進一步提高圓鋼網片的強度,防止圓鋼網片的斷裂,同時也進一步增強了本實用新型儲繩車的穩定性。
本實用新型的有益效果為:
1、本實用新型結構簡單,設計合理,制作容易,成本低廉,易于操作,儲繩量極大;
2、使用本實用新型儲繩車,對于大型煤礦行業來說加快了綜采進度推進速度,縮短了無極繩絞車鋼絲繩從投入使用到結束使用時間;
3、現有無極繩絞車設施并沒有儲繩裝置,導致鋼絲繩每次回撤尾輪時被切斷報廢,鋼絲繩復用率為零,而本實用新型儲繩車填補了無極繩絞車回撤尾輪時鋼絲繩處置的一項空白,避免了鋼絲繩的磨損程度,提高了鋼絲繩復用價值,達到節約成本開支的目地。
附圖說明
圖1為本實用新型的結構示意圖;
圖2為圖1的左視圖;
圖3為圖1的俯視圖;
圖中:1-底盤框架、2-輪對、3-底板、4-主柱腿、5-連接耳、6-圓鋼網片、7-扁梁、8-輔柱腿。
具體實施方式
以下結合附圖對本實用新型作進一步地描述:
如圖1、2、3所示,一種自制無極繩絞車儲繩車,包括底盤框架1,底盤框架1的底部安裝有輪對2、頂部固定有底板3;底板3的四個角分別垂直固定有一根主柱腿4,底板3的前后兩側分別固定有連接耳5;底板3左側的兩根主柱腿4之間以及底板3右側的兩根主柱腿4之間分別固定有圓鋼網片6;底板3前側的兩根主柱腿4頂部之間以及底板3后側的兩根主柱腿4頂部之間分別固定有一根扁梁7,兩根扁梁7之間固定有圓鋼網片6。
進一步地,在底板3的左右兩側位于主柱腿4之間的位置均布有若干根與底板3垂直固定的輔柱腿8,同時輔柱腿8也與固定于主柱腿4之間的圓鋼網片6固定。
具體實施時,底盤框架1和底板3都為長2.4m、寬1.2m,底板3是厚度為20mm的鋼板,主柱腿4為高1m的8號槽鋼,輔柱腿8為高1m的6.3號槽鋼,圓鋼網片6是采用直徑為8mm的元鋼焊制而成。
權利要求書
1、一種自制無極繩絞車儲繩車,其特征在于:包括底盤框架(1),底盤框架(1)的底部安裝有輪對(2)、頂部固定有底板(3);底板(3)的四個角分別垂直固定有一根主柱腿(4),底板(3)的前后兩側分別固定有連接耳(5);底板(3)左側的兩根主柱腿(4)之間以及底板(3)右側的兩根主柱腿(4)之間分別固定有圓鋼網片(6);底板(3)前側的兩根主柱腿(4)頂部之間以及底板(3)后側的兩根主柱腿(4)頂部之間分別固定有一根扁梁(7),兩根扁梁(7)之間固定有圓鋼網片(6)。
2、根據權利要求1所述的自制無極繩絞車儲繩車,其特征在于:在底板(3)的左右兩側位于主柱腿(4)之間的位置均布有若干根與底板(3)垂直固定的輔柱腿(8),同時輔柱腿(8)也與固定于主柱腿(4)之間的圓鋼網片(6)固定。
說明書摘要
本實用新型為一種自制無極繩絞車儲繩車,解決了無極繩絞車尾輪回撤時遺留的多余鋼絲繩無法歸置的問題。本實用新型包括底盤框架,底盤框架的底部安裝有輪對、頂部固定有底板;底板的四個角分別垂直固定有主柱腿,底板的前后兩側分別固定有連接耳;底板左側的兩根主柱腿之間以及底板右側的兩根主柱腿之間分別固定有圓鋼網片;底板前側的兩根主柱腿頂部之間以及底板后側的兩根主柱腿頂部之間分別固定有一根扁梁,兩根扁梁之間固定有圓鋼網片。本實用新型結構簡單,設計合理,制作容易,成本低廉,易于操作,儲繩量極大,填補了無極繩絞車回撤尾輪時鋼絲繩處置的一項空白,避免了鋼絲繩的磨損程度,提高了鋼絲繩復用價值,達到節約成本開支的目地。
說明書附圖


圖1 圖2

圖3